游戏的意义就在于它能够给人带来快乐,如果过多的掺杂其他的东西就失去了其本身的意义,大家好,我是小三,每天给大家分享游戏中的八卦趣事。
拥有帮战玩法的周五周六周日都可以参与帮战,在帮战中玩家可以与其他的玩家进行PK,周五和周日的帮战也可以去杀怪物,所以在梦幻中有很多玩家会选择在周五周日的时候参加,这样他们就可以刷帮贡了。
这就是单人参加帮战的意义,宁死也要拆了对方的队伍

也有一些玩家参与帮战的时候是以单人形式去参与的,他们仅仅是为了混帮战次数,进入帮战场景就会死出来,但有些玩家有的时候也是有野心的,就像上面的这位,上面的这位玩家虽然是单人参与的帮战,但是上面的这位玩家却成功的带走了对方的一个角色,算是拆了对方的队伍,这也是很多玩家的梦想,拆了对方帮派的一个队伍,那么在后续的战斗中己方帮战人员就会有优势。
你买宝宝会考虑野生的吗?

虽然七夕还没有到,但是梦幻西游的官方已经开始了七夕锦衣的竞猜,但是这里大神的推送内容有一点特殊呀,因为大神推送的并不是七夕的相关内容,而是询问玩家,你们愿不愿意购买野生的召唤兽?小编感觉对于那些平民玩家来说,购买野生召唤兽也是可以接受的,因为零级的野生召唤兽也就是缺少了50点属性,但是成品的零级野生召唤兽卖的却特别便宜,在任务中使用的性价比高。
露出名字将会是另外的一个结果

大家知道三界书院答题玩法吗?每天中午12点之后系统就会在系统频道上发出相关的题目,玩家需要在世界频道上进行作答,答对就有可能会获得奖励,上面的这个三界书院答题其实是玩家弄出来的闹剧,因为该题目的发送者是玩家,只不过因为传闻频道的特殊性被隐藏了角色昵称罢了,如果上面的这位玩家的角色昵称显露出来,事情可能就不是现在的结果,他有可能会被该服务器的大佬针对。
造型、技能数量、特殊技能都全了

妙法天女本身就是稀有类型的召唤兽,他拥有的特殊技能是凝光炼彩,现在上面这只九技能的妙法天女就拥有着两个召唤兽的特殊技能,分别是净台妙谛和凝光炼彩,全部都是没有兽诀的特殊技能,这只召唤兽打成全红之后或许有可能会给他打上死亡召唤和法术防御。
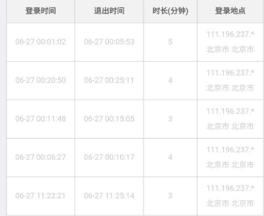
强行禁止玩家登陆游戏吗?每隔五分钟就会掉线一次

玩过梦幻的玩家都经历过掉线,但是绝大多数的玩家都没有经历过上面的这种掉线,上面的这位玩家表示自己的角色每次上线4到5分钟就会掉线一次,大家知道这是为什么吗?小编建议上面的这位玩家查一下自己的电脑上有没有其他直播平台的直播软件,存在其他直播平台的直播软件时就会出现这种频繁掉线的情况,如果没有其他平台的直播软件,小编建议上面的这位玩家重新装一下系统,说不定自己的电脑上存在的病毒。
它是怎么做到的,你在藏宝阁上见过经验为0的角色吗?

小编逛藏宝阁的时候突然间发现了上面的一个比较特殊的角色,正常的情况下在藏宝阁上出售的角色的等级是59级,想将自己的角色等级提升到59级是必须要获得经验的,那么上面的这个角色是怎么做到将自己的当前经验弄到零的呢?小编感觉这就是一种巧合,上面的这位玩家之前的经验刚好能够满足技能的需求,又或者是上面的这位玩家通过频繁死亡达到这种情况的。
1.《小三说梦幻_梦幻西游:这就是单人参加帮战的意义 宁死也要拆了对方的队伍》援引自互联网,旨在传递更多网络信息知识,仅代表作者本人观点,与本网站无关,侵删请联系页脚下方联系方式。
2.《小三说梦幻_梦幻西游:这就是单人参加帮战的意义 宁死也要拆了对方的队伍》仅供读者参考,本网站未对该内容进行证实,对其原创性、真实性、完整性、及时性不作任何保证。
3.文章转载时请保留本站内容来源地址,https://www.lu-xu.com/gl/1884647.html








